正确处理和使用戴尔 DA200 USB-C 转换器
Zusammenfassung: 以下文章提供有关正确处理和使用戴尔 DA200 USB-C 适配器和其他 USB-C 转换器的信息。
Dieser Artikel gilt für
Dieser Artikel gilt nicht für
Dieser Artikel ist nicht an ein bestimmtes Produkt gebunden.
In diesem Artikel werden nicht alle Produktversionen aufgeführt.
Symptome
正确处理戴尔 DA200 适配器
本文介绍戴尔 USB-C 转换器的正确使用和处理方法。

(图 1 戴尔 DA200 适配器)
戴尔 DA200 适配器— 通过您选择的 HDMI 或 VGA 输出将您的移动计算机连接到外部显示器。
也适用于:
- 戴尔 USB-C 转 VGA(视频图形阵列)
- 戴尔 USB-C 转 HDMI(高清多媒体接口)
- 戴尔 USB-C 转 DP (DisplayPort)
- 戴尔 USB-C 转 USB-A
- 戴尔 USB-C 转以太网(网络接口控制器)
Ursache
无原因信息
Lösung
正确处理适配器的做法是将适配器插入移动设备,适配器支撑在同一表面上,并且不要弯曲或扭曲 USB-C 线缆。

(图 2 正确的线缆位置)
提醒:确保 USB-C 接头已完全就位,插入适配器端的所有线缆也已完全就位。
注意:过度弯曲和扭曲可能会损坏 USB-C 线缆或缩短设备的使用寿命和耐用性。
|
|
|
| (图 3 请勿将 USB-C 连接器翻倍到适配器上方) |
(图 4 请勿扭曲 USB-C 线缆) |
|
|
|
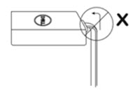
| (图 5 请勿以直角弯曲适配器上的 USB-C 线缆) |
(图 6 请勿以直角弯曲 USB-C 接口处的 USB-C 线缆) |
提醒:在两端连接到另一个设备时,请勿让适配器从桌子侧面垂下。
Betroffene Produkte
Dell Adapter - USB-C to HDMI/VGA/Ethernet/USB 3.0 DA200Artikeleigenschaften
Artikelnummer: 000134684
Artikeltyp: Solution
Zuletzt geändert: 27 Juli 2024
Version: 5
Antworten auf Ihre Fragen erhalten Sie von anderen Dell NutzerInnen
Support Services
Prüfen Sie, ob Ihr Gerät durch Support Services abgedeckt ist.



