Правильне поводження та використання ключа Dell DA200 USB-C
Zusammenfassung: У наступній статті наведено інформацію про правильне поводження та використання адаптера Dell DA200 USB-C та інших ключів USB-C.
Dieser Artikel gilt für
Dieser Artikel gilt nicht für
Dieser Artikel ist nicht an ein bestimmtes Produkt gebunden.
In diesem Artikel werden nicht alle Produktversionen aufgeführt.
Symptome
Правильне поводження з адаптером Dell DA200
У цій статті йдеться про правильне використання та поводження з ключем Dell USB-C.

(Малюнок.1 Адаптер Dell DA200)
Адаптер Dell DA200 - підключає ваш мобільний комп'ютер до зовнішнього дисплея за допомогою виходів HDMI або VGA на ваш вибір.
Також застосовується для:
- Dell USB-C на VGA (відеографічний масив)
- Dell USB-C – HDMI (мультимедійний інтерфейс високої чіткості)
- Dell USB-C – DP (DisplayPort)
- Dell USB-C – USB-A
- Dell USB-C до Ethernet (контролер мережевого інтерфейсу)
Ursache
Немає інформації про причину
Lösung
Правильне поводження з адаптером полягає в тому, щоб підключити його до мобільного пристрою з опорою адаптера на тій самій поверхні та без будь-яких вигинів або скручувань до кабелю USB-C.

(Малюнок.2 Правильне положення кабелю)
Примітка. Переконайтеся, що роз'єм USB-C повністю вставлений, як і всі кабелі, підключені до сторони адаптера.
Застереження: Надмірне згинання та скручування може пошкодити кабель USB-C або скоротити термін служби та довговічність пристрою.
|
|
|
| (Малюнок.3 Не подвоюйте роз'єм USB-C назад над адаптером) |
(Малюнок.4 Не перекручуйте кабель USB-C) |
|
|
|
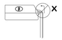
| (Малюнок.5 Не згинайте кабель USB-C на адаптері під прямим кутом) |
(Малюнок.6 Не згинайте кабель USB-C у роз'ємі USB-C під прямим кутом) |
Примітка. Не залишайте адаптер звисати з боку столу, коли він підключений з обох кінців до іншого пристрою.
Betroffene Produkte
Dell Adapter - USB-C to HDMI/VGA/Ethernet/USB 3.0 DA200Artikeleigenschaften
Artikelnummer: 000134684
Artikeltyp: Solution
Zuletzt geändert: 27 Juli 2024
Version: 5
Antworten auf Ihre Fragen erhalten Sie von anderen Dell NutzerInnen
Support Services
Prüfen Sie, ob Ihr Gerät durch Support Services abgedeckt ist.



