正確處理和使用 Dell DA200 USB-C 轉接器
Zusammenfassung: 下列文章提供正確處理和使用 Dell DA200 USB-C 轉接器和其他 USB-C 轉接器的資訊。
Dieser Artikel gilt für
Dieser Artikel gilt nicht für
Dieser Artikel ist nicht an ein bestimmtes Produkt gebunden.
In diesem Artikel werden nicht alle Produktversionen aufgeführt.
Symptome
Dell DA200 轉接器的正確處理方式
本文說明如何正確使用和處理 Dell USB-C 轉接器。

(圖 1 Dell DA200 配接卡)
Dell DA200 轉接器 - 可將行動電腦連接至外接顯示器,並提供自選的 HDMI 或 VGA 輸出。
也適用於:
- Dell USB-C 轉 VGA (影像圖形陣列)
- Dell USB-C 轉 HDMI (高解析度多媒體介面)
- Dell USB-C 轉 DP (DisplayPort)
- Dell USB-C 轉 USB-A
- Dell USB-C 轉乙太網路 (網路介面控制器)
Ursache
無造成原因的資訊
Lösung
轉接器的正確處理方式是將轉接器插入行動裝置,且轉接器必須在同一表面上支撐,且 USB-C 纜線不會有任何彎折或扭曲。

(圖 2 正確的纜線位置)
注意:請確定 USB-C 連接器已完全插入,以及插入轉接器端的任何纜線。
警示:過度彎曲和扭曲可能會損壞 USB-C 纜線或縮短裝置的使用壽命和耐用性。
|
|
|
| (圖 3 請勿將 USB-C 連接器加倍接回轉接器上) |
(圖 4 請勿扭轉 USB-C 纜線) |
|
|
|
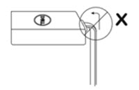
| (圖 5 請勿將 USB-C 纜線在轉接器處以直角彎曲) |
(圖 6 請勿將 USB-C 纜線在 USB-C 連接器處以直角折彎) |
注意:連接至其他裝置時,請勿讓轉接器從桌面側面晃來晃去。
Betroffene Produkte
Dell Adapter - USB-C to HDMI/VGA/Ethernet/USB 3.0 DA200Artikeleigenschaften
Artikelnummer: 000134684
Artikeltyp: Solution
Zuletzt geändert: 27 Juli 2024
Version: 5
Antworten auf Ihre Fragen erhalten Sie von anderen Dell NutzerInnen
Support Services
Prüfen Sie, ob Ihr Gerät durch Support Services abgedeckt ist.



