Dell DA200 USB-C Donanım Kilidinin Doğru Kullanımı ve Kullanımı
Zusammenfassung: Aşağıdaki makalede, Dell DA200 USB-C Adaptör ve diğer USB-C Dongle'ların doğru kullanımı ve kullanımı hakkında bilgiler yer almaktadır.
Dieser Artikel gilt für
Dieser Artikel gilt nicht für
Dieser Artikel ist nicht an ein bestimmtes Produkt gebunden.
In diesem Artikel werden nicht alle Produktversionen aufgeführt.
Symptome
Dell DA200 Adaptör'ün doğru kullanımı
Bu makalede, Dell USB-C dongle'ın doğru kullanımı ve kullanımı ele alınmaktadır.

(Şekil 1 Dell DA200 Adaptörü)
Dell DA200 Adaptör: Mobil bilgisayarınızı seçtiğiniz HDMI veya VGA çıkışlarıyla harici bir ekrana bağlar.
Aşağıdakiler için de geçerlidir:
- Dell USB-C ile VGA arası (Video Grafik Dizisi)
- Dell USB-C ile HDMI (Yüksek Tanımlı Multimedya Arabirimi) arası
- Dell USB-C ile DP (DisplayPort) arası
- Dell USB-C ile USB-A arası
- Dell USB-C ile Ethernet (Ağ Arayüzü Denetleyicisi) arası
Ursache
Neden bilgisi yok
Lösung
Adaptörün doğru şekilde tutulması, adaptörle aynı yüzeyde desteklenmiş olarak ve USB-C kablosunda herhangi bir bükülme veya bükülme olmadan mobil cihaza takmaktır.

(Şekil 2 Doğru kablo konumu)
Not: USB-C konnektörünün ve adaptör tarafına takılı kabloların tam olarak oturduğundan emin olun.
Dikkat: Aşırı eğilme veya bükülme, USB-C kablosuna zarar verebilir veya aygıtın çalışma ömrünü ve dayanıklılığını kısaltabilir.
|
|
|
| (Şekil 3 . USB-C konnektörünü Adaptör üzerinde iki katına çıkarmayın) |
(Şekil 4 USB-C kablosunu bükmeyin) |
|
|
|
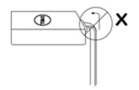
| (Şekil 5 . USB-C kablosunu adaptöre dik açıyla bükmeyin) |
(Şekil 6 . USB-C kablosunu USB-C konnektörü üzerinde dik açıyla bükmeyin) |
Not: Her iki ucu da başka bir cihaza bağlıyken adaptörü masanın kenarından sarkacak şekilde bırakmayın.
Betroffene Produkte
Dell Adapter - USB-C to HDMI/VGA/Ethernet/USB 3.0 DA200Artikeleigenschaften
Artikelnummer: 000134684
Artikeltyp: Solution
Zuletzt geändert: 27 Juli 2024
Version: 5
Antworten auf Ihre Fragen erhalten Sie von anderen Dell NutzerInnen
Support Services
Prüfen Sie, ob Ihr Gerät durch Support Services abgedeckt ist.



