Korrekt hantering och användning av Dell DA200 USB-C-dongeln
Zusammenfassung: Följande artikel innehåller information om korrekt hantering och användning av Dell DA200 USB-C-adaptern och andra USB-C-donglar.
Dieser Artikel gilt für
Dieser Artikel gilt nicht für
Dieser Artikel ist nicht an ein bestimmtes Produkt gebunden.
In diesem Artikel werden nicht alle Produktversionen aufgeführt.
Symptome
Korrekt hantering av Dell DA200-adaptern
Den här artikeln handlar om korrekt användning och hantering av en USB-C-dongel från Dell.

(Bild 1 Dell DA200-adapter)
Dell DA200-adapter – ansluter din bärbara dator till en extern bildskärm med ditt val av HDMI- eller VGA-utgångar.
Gäller även för:
- Dell USB-C till VGA (Video Graphics Array)
- Dell USB-C till HDMI (High-Definition Multimedia Interface)
- Dell USB-C till DP (DisplayPort)
- Dell USB-C till USB-A
- Dell USB-C till Ethernet (nätverksstyrenhet)
Ursache
Ingen orsaksinformation
Lösung
Korrekt hantering av adaptern är att ansluta den till den mobila enheten med adaptern på samma yta och utan några böjningar eller vridningar på USB-C-kabeln.

(Bild 2 Korrekt placering av kabeln)
Obs! Kontrollera att USB-C-kontakten sitter ordentligt på plats, liksom eventuella kablar som är anslutna till adaptersidan.
Varning! Överdriven böjning och vridning kan skada USB-C-kabeln eller förkorta enhetens livslängd och hållbarhet.
|
|
|
| (Bild 3 Dubblera inte USB-C-kontakten över adaptern.) |
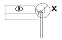
(Bild 4 Vrid inte USB-C-kabeln) |
|
|
|
| (Bild 5 Böj inte USB-C-kabeln vid adaptern i en rät vinkel) |
(Bild 6 Böj inte USB-C-kabeln vid USB-C-kontakten i en rät vinkel) |
Obs! Låt inte adaptern dingla från sidan av skrivbordet medan den är ansluten i vardera änden till en annan enhet.
Betroffene Produkte
Dell Adapter - USB-C to HDMI/VGA/Ethernet/USB 3.0 DA200Artikeleigenschaften
Artikelnummer: 000134684
Artikeltyp: Solution
Zuletzt geändert: 27 Juli 2024
Version: 5
Antworten auf Ihre Fragen erhalten Sie von anderen Dell NutzerInnen
Support Services
Prüfen Sie, ob Ihr Gerät durch Support Services abgedeckt ist.



