Juiste behandeling en gebruik van de Dell DA200 USB-C-dongle
Zusammenfassung: Het volgende artikel bevat informatie over de juiste omgang met en het juiste gebruik van de Dell DA200 USB-C-adapter en andere USB-C-dongles.
Dieser Artikel gilt für
Dieser Artikel gilt nicht für
Dieser Artikel ist nicht an ein bestimmtes Produkt gebunden.
In diesem Artikel werden nicht alle Produktversionen aufgeführt.
Symptome
De juiste behandeling van de Dell DA200 adapter
Dit artikel behandelt het juiste gebruik en de juiste afhandeling van een Dell USB-C-dongle.

(Afbeelding 1 Dell DA200 adapter)
De Dell DA200 adapter - verbindt uw mobiele computer met een extern beeldscherm met naar keuze HDMI- of VGA-uitgangen.
Ook van toepassing op:
- Dell USB-C-naar-VGA (video grafische array)
- Dell USB-C-naar-HDMI (High-Definition Multimedia Interface)
- Dell USB-C-naar-DP (DisplayPort)
- Dell USB-C-naar-USB-A
- Dell USB-C-naar-Ethernet (netwerkinterfacecontroller)
Ursache
Geen informatie over de oorzaak
Lösung
De adapter moet op de juiste manier op het mobiele apparaat worden aangesloten met de adapter op hetzelfde oppervlak en zonder te buigen of te draaien aan de USB-C-kabel.

(Afbeelding 2 Juiste kabelpositie)
Opmerking: Zorg ervoor dat de USB-C-connector goed op zijn plaats zit, net als eventuele kabels die op de adapterzijde zijn aangesloten.
Let op: Overmatig buigen en draaien kan de USB-C-kabel beschadigen of de levensduur en duurzaamheid van het apparaat verkorten.
|
|
|
| (Afbeelding 3 Dubbel de USB-C-connector niet terug over de adapter) |
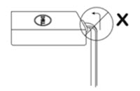
(Afbeelding 4 Draai de USB-C-kabel niet) |
|
|
|
| (Afbeelding 5 Buig de USB-C-kabel niet in een rechte hoek naar de adapter) |
(Afbeelding 6 Buig de USB-C-kabel niet in een rechte hoek bij de USB-C-connector) |
Opmerking: Laat de adapter niet aan de zijkant van het bureau bungelen terwijl deze aan beide uiteinden op een ander apparaat is aangesloten.
Betroffene Produkte
Dell Adapter - USB-C to HDMI/VGA/Ethernet/USB 3.0 DA200Artikeleigenschaften
Artikelnummer: 000134684
Artikeltyp: Solution
Zuletzt geändert: 27 Juli 2024
Version: 5
Antworten auf Ihre Fragen erhalten Sie von anderen Dell NutzerInnen
Support Services
Prüfen Sie, ob Ihr Gerät durch Support Services abgedeckt ist.



