Dell DA200 USB-C -sovittimen oikea käsittely ja käyttö
Zusammenfassung: Seuraavassa artikkelissa on tietoja Dell DA200 USB-C -sovittimen ja muiden USB-C-sovittimien oikeasta käsittelystä ja käytöstä.
Dieser Artikel gilt für
Dieser Artikel gilt nicht für
Dieser Artikel ist nicht an ein bestimmtes Produkt gebunden.
In diesem Artikel werden nicht alle Produktversionen aufgeführt.
Symptome
Dell DA200 -sovittimen oikea käsittely
Tässä artikkelissa käsitellään Dell USB-C -sovittimen oikeaa käyttöä ja käsittelyä.

(Kuva 1 : Dell DA200 -sovitin)
Dell DA200 -sovitin - yhdistää kannettavan tietokoneen ulkoiseen näyttöön valitsemallasi HDMI- tai VGA-lähdöllä.
Sovelletaan myös:
- DELLIN USB-C–VGA (Video Graphics Array)
- DELLIN USB-C–HDMI (High Definition Multimedia Interface)
- Dell USB-C–DP (DisplayPort)
- DELL USB-C – USB-A
- Dell USB-C – Ethernet (verkkokortin ohjain)
Ursache
Ei tietoja syystä
Lösung
Sovitin on kytkeä se mobiililaitteeseen niin, että sovitin on tuettuna samalla pinnalla ja ilman USB-C-kaapelin taipumista tai kiertymistä.

(Kuva 2 Kaapelin oikea sijainti)
Huomautus: Varmista, että USB-C-liitin ja sovittimen puolelle mahdollisesti kytketyt kaapelit ovat täysin paikallaan.
Huomio: Liiallinen taivutus ja kiertyminen voi vahingoittaa USB-C-kaapelia tai lyhentää laitteen käyttöikää ja kestävyyttä.
|
|
|
| (Kuva 3 : Älä kaksinkertaista USB-C-liitintä takaisin sovittimeen nähden) |
(Kuva 4 Älä kierrä USB-C-kaapelia) |
|
|
|
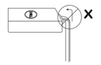
| (Kuva 5 : Älä taivuta USB-C-kaapelia sovittimessa suorassa kulmassa) |
(Kuva 6 : Älä taivuta USB-C-kaapelia suorassa kulmassa USB-C-liittimessä) |
Huomautus: Älä jätä sovitinta roikkumaan irti pöydän reunasta, kun se on yhdistetty jommastakummasta päästä toiseen laitteeseen.
Betroffene Produkte
Dell Adapter - USB-C to HDMI/VGA/Ethernet/USB 3.0 DA200Artikeleigenschaften
Artikelnummer: 000134684
Artikeltyp: Solution
Zuletzt geändert: 27 Juli 2024
Version: 5
Antworten auf Ihre Fragen erhalten Sie von anderen Dell NutzerInnen
Support Services
Prüfen Sie, ob Ihr Gerät durch Support Services abgedeckt ist.



