Korrekte Handhabung und Verwendung des Dell DA200 USB-C-Dongle
Zusammenfassung: Der folgende Artikel enthält Informationen zur korrekten Handhabung und Verwendung des Dell DA200 USB-C-Adapters und anderer USB-C-Dongles.
Dieser Artikel gilt für
Dieser Artikel gilt nicht für
Dieser Artikel ist nicht an ein bestimmtes Produkt gebunden.
In diesem Artikel werden nicht alle Produktversionen aufgeführt.
Symptome
Die richtige Handhabung des Dell DA200-Adapters
Dieser Artikel behandelt die korrekte Verwendung und Handhabung eines Dell USB-C-Dongles.

(Abbildung 1 Dell DA200-Adapter)
Der Dell DA200-Adapter verbindet Ihren mobilen Computer mit einem externen Display mit wahlweise HDMI- oder VGA-Ausgängen.
Auch anwendbar auf:
- Dell USB-C-zu-VGA (Videografik-Array)
- Dell USB-C-zu-HDMI (High-Definition Multimedia Interface)
- Dell USB-C-zu-DP (DisplayPort)
- Dell USB-C-zu-USB-A
- Dell USB-C-zu-Ethernet (Netzwerkschnittstellen-Controller)
Ursache
Keine Informationen zur Ursache
Lösung
Die richtige Handhabung des Adapters besteht darin, ihn mit dem Adapter auf derselben Oberfläche und ohne Knicken oder Verdrehen des USB-C-Kabels an das Mobilgerät anzuschließen.

(Abbildung 2 : Richtige Kabelposition)
Hinweis: Stellen Sie sicher, dass der USB-C-Stecker vollständig eingesetzt ist, ebenso wie alle Kabel, die an der Adapterseite angeschlossen sind.
Vorsicht: Übermäßiges Biegen und Verdrehen kann das USB-C-Kabel beschädigen oder die Lebensdauer und Haltbarkeit des Geräts verkürzen.
|
|
|
| (Abbildung 3 : Verdoppeln Sie den USB-C-Anschluss nicht wieder über dem Adapter.) |
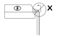
(Abbildung 4 : Verdrehen Sie das USB-C-Kabel nicht.) |
|
|
|
| (Abbildung 5 : Biegen Sie das USB-C-Kabel am Adapter nicht rechtwinklig) |
(Abbildung 6 : Biegen Sie das USB-C-Kabel am USB-C-Anschluss nicht rechtwinklig) |
Hinweis: Lassen Sie den Adapter nicht an der Seite des Schreibtisches baumeln, während er an einem der Enden an ein anderes Gerät angeschlossen ist.
Betroffene Produkte
Dell Adapter - USB-C to HDMI/VGA/Ethernet/USB 3.0 DA200Artikeleigenschaften
Artikelnummer: 000134684
Artikeltyp: Solution
Zuletzt geändert: 27 Juli 2024
Version: 5
Antworten auf Ihre Fragen erhalten Sie von anderen Dell NutzerInnen
Support Services
Prüfen Sie, ob Ihr Gerät durch Support Services abgedeckt ist.



