Gestione e utilizzo corretti del dongle USB-C Dell DA200
Zusammenfassung: L'articolo seguente fornisce informazioni sulla corretta gestione e utilizzo dell'adattatore USB-C Dell DA200 e di altri dongle USB-C.
Dieser Artikel gilt für
Dieser Artikel gilt nicht für
Dieser Artikel ist nicht an ein bestimmtes Produkt gebunden.
In diesem Artikel werden nicht alle Produktversionen aufgeführt.
Symptome
Maneggio corretto dell'adattatore Dell DA200
Questo articolo illustra come utilizzare e gestire correttamente un dongle USB-C Dell.

(Figura 1 . Adattatore Dell DA200)
Adattatore Dell DA200: consente di collegare il computer portatile a un display esterno con uscite HDMI o VGA a scelta.
Applicabile anche a:
- Dell da USB-C a VGA (array grafico video)
- Dell da USB-C a HDMI (interfaccia multimediale ad alta definizione)
- Dell da USB-C a DP (DisplayPort)
- Dell da USB-C a USB-A
- Dell da USB-C a Ethernet (controller di interfaccia di rete)
Ursache
Nessuna informazione sulle cause
Lösung
L'uso corretto dell'adattatore consiste nel collegarlo al dispositivo mobile con l'adattatore appoggiato sulla stessa superficie e senza piegare o torcere il cavo USB-C.

(Figura 2 . Posizione corretta del cavo)
Nota: Accertarsi che il connettore USB-C sia inserito correttamente, così come gli eventuali cavi collegati al lato adattatore.
Attenzione: Piegamenti e torsioni eccessivi possono danneggiare il cavo USB-C o ridurre la durata e la durata dei dispositivi.
|
|
|
| (Figura 3 . Non raddoppiare il connettore USB-C sull'adattatore) |
(Figura 4 . Non attorcigliare il cavo USB-C) |
|
|
|
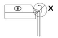
| (Figura 5 . Non piegare il cavo USB-C sull'adattatore ad angolo retto) |
(Figura 6 . Non piegare il cavo USB-C sul connettore USB-C ad angolo retto) |
Nota: Non lasciare l'adattatore penzolare dal lato della scrivania mentre è collegato a una delle estremità a un altro dispositivo.
Betroffene Produkte
Dell Adapter - USB-C to HDMI/VGA/Ethernet/USB 3.0 DA200Artikeleigenschaften
Artikelnummer: 000134684
Artikeltyp: Solution
Zuletzt geändert: 27 Juli 2024
Version: 5
Antworten auf Ihre Fragen erhalten Sie von anderen Dell NutzerInnen
Support Services
Prüfen Sie, ob Ihr Gerät durch Support Services abgedeckt ist.



