Dell Pro 싱글 모니터 암 MSA20의 기능

Summary: 이 문서에서는 Dell Pro 싱글 모니터 암 MSA20의 사용 및 기능에 대한 정보를 제공합니다.

This article applies to This article does not apply to This article is not tied to any specific product. Not all product versions are identified in this article.

Instructions

목차:

  1. 소개
  2. 기능
  3. 부품
  4. 이동 범위

소개

 

MSA20 제품 샷

(그림 1 Dell Pro 싱글 모니터 암 MSA20)

Dell Pro 싱글 모니터 암 MSA20은 컴퓨터 또는 모니터 마운팅을 지원합니다. 퀵 릴리스를 사용하여 Dell UltraSharp 또는 P-Series 모니터를 설치할 수 있습니다. 선택한 OptiPlex 마이크로, Ultra 또는 Wyse 컴퓨터를 사실상 공구 없이 모니터에 마운트할 수 있습니다. 클립이 포함된 통합 케이블 관리 슬롯에는 책상을 깔끔하게 정리하는 데 도움이 되는 최대 10개의 케이블을 담을 수 있습니다.

Dell Pro 싱글 모니터 암 MSA20에 대한 자세한 내용은 다음 링크에서 확인할 수 있습니다.

Dell Shop에서 Dell Pro 싱글 모니터 암 MSA20을 검색하여 가격과 같은 정보를 확인할 수 있습니다.


기능

 

제품 유형 책상 마운트(조정 가능)
색상 검정색
설치 클램프 데스크 최대 53mm(2.1인치) 두께 및
그로밋 구멍 직경은 최대 50.8mm(2인치)
패널 마운트 Dell 퀵 릴리스 마운트
VESA 호환 모니터 마운트
VESA 어댑터 플레이트 마운트 세트 포함
컴퓨터 마운트 일부 OptiPlex 마이크로 및 울트라 모델과
Wyse 씬 클라이언트
VESA 마운트 인터페이스 100 x 100mm(3.9인치 x 3.9인치)
동적 암 지원 중량 범위 2.2 kg - 10 kg (4.8 lbs - 22.0 lbs)
권장 사용 LCD 평면 디스플레이
권장 디스플레이 크기 19 에. 에 38 in.
케이블 관리 최대 10개의 케이블을 위한 상단 및 하단 슬롯

 

참고: Dell에서 스탠드를 배송할 때 회전 범위 제한 스위치가 잠금 해제 위치로 설정되어 있습니다.

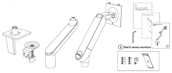
부품

 

참고: 다음 부품은 모두 상자에 담겨 배송됩니다.
  • 기본
  • 스태틱 암
  • 다이나믹 암
  • VESA 어댑터 플레이트
  • 나사
  • 플라스틱 스페이서

제품 구성

(그림 2. 상자 내용물)

 

어셈블리 단계:

  1. 책상 마운트는 책상 등받이와 같은 평평한 가장자리에 맞습니다.

    책상 마운트

    (그림 3. 책상 마운트)

  2. 나사 cl 부착amp 데스크 마운트의 볼트 위에 놓고 볼트를 조인 다음 나사 cl을 조입니다.amp 마운트를 데스크에 고정합니다.

    나사 클램프

    (그림 4. 나사 클램프)

  3. 하단 암을 데스크 마운트 위로 밉니다.

    하단 암

    (그림 5. 하단 암)

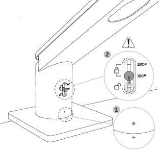
  4. 암의 점을 정렬하고 슬라이더를 장착하고 움직여 암을 180° 또는 360°로 잠급니다.

    하단 암의 슬라이더 잠금

    (그림 6. 슬라이더 잠금 하단 암)

  5. 위쪽 암을 아래쪽 암으로 밉니다.

    상단 암

    (그림 7. 상단 암)

  6. 하단 및 상단 암이 연결되는 지점에 점을 맞추고 슬라이드를 사용하여 원하는 각도로 고정시킵니다.

    상완의 슬라이더 잠금

    (그림 8. 슬라이더 잠금 상단 암)

  7. 덮개를 밀고 당겨 팔뚝 아래쪽과 위쪽 암에서 분리합니다.

    케이블 트레이 덮개

    (그림 9. 케이블 트레이 덮개)

  8. 노출된 클립을 통해 케이블을 배선하여 깔끔하고 방해되지 않도록 합니다.

    케이블 라우팅

    (그림 10. 케이블 배선)

  9. 컴퓨터 또는 디스플레이를 암 끝에 연결합니다.

    첨부 파일

    (그림 11. 부속품)

  10. 케이블을 연결합니다.

    케이블 연결

    (그림 12. 케이블 연결)

  11. 케이블을 숨기기 위해 덮개를 아래쪽 암과 위쪽 암에 다시 끼웁니다.


이동 범위

 

수직 이동

(그림 13. 수직 이동)

이동 깊이

(그림 14. 이동 깊이)

이동  높이 조정 가능, 회전, 기울기 조절 및 회전축
회전축 시계 방향 90° 및 시계 반대 방향 90°
부속품 기울기 조절 아래쪽으로 35°, 위쪽으로 80° 기울어집니다.
하단 암 잠금 장치를 암 베이스에서 180°에서 360° 사이로 밉니다.
상단 암 상완 바닥에서 잠금 장치를 180°에서 360° 사이로 밉니다.
부속품 회전 팔뚝 끝에서 180°
180°
높이 범위 266mm(10.5")
깊이 범위 548mm(21.6")

 

Affected Products

OptiPlex Micro, Alienware and Dell Gaming Monitors, C Series, D Series, E Series, P Series, S Series, SE Series, UltraSharp Premier (UP) Series, UltraSharp (U) Series, Dell Monitors, Dell Plus Monitors, Dell Pro Monitors, Dell Pro Plus Monitors , Dell Pro Single Monitor Arm MSA20, OptiPlex 3000 Thin Client ...

Products

UltraSharp Premier (UP) Series, UltraSharp (U) Series
Article Properties
Article Number: 000152981
Article Type: How To
Last Modified: 08 Apr 2025
Version:  10
Find answers to your questions from other Dell users
Support Services
Check if your device is covered by Support Services.